來源:本站 作者:匿名 發布:2020/2/10 瀏覽次數:3982
先從實際案例說起
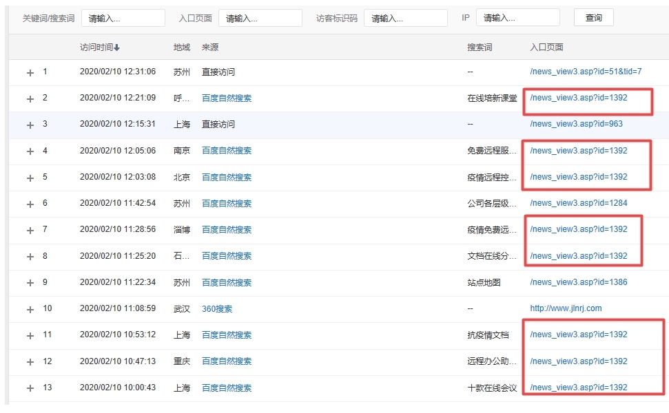
2月9號晚上我花了一個小時寫了一篇文章,標題:抗擊疫情遠程辦公-10款超棒的免費遠程辦公軟件,10號上午即被百度收錄。

在百度上排首頁4、5位


兩個小時就帶來50個流量

百度商橋可以實時監控到關鍵詞

預計3個月時間應該能有1000+流量,這還僅僅是在自己網站發布的文章。當然,seo會有各種指標衡量軟文的質量,這里就不說的那么專業了。
什么是熱點營銷以及特點營銷的好處就不說了,下面就說下如何進行熱點營銷。
如何找到熱點
1、如果你網站面向全國那就留意國內外正在發生的熱點新聞,如果是只做本省市的就還要留意省內發生的熱點新聞。
2、看日歷找熱點
節假日-比如4月1日快到了,策劃幾篇愚人節為主題的文章、促銷活動。
紀念日-張國榮逝世15周年、抗戰勝利70周年。
用熱點詞做軟文標題
文章標題至關重要,最好標題中包含熱點詞,文章的標題和內容要和你的網站主題一致,比如開頭的這篇文章抗擊疫情遠程辦公-10款超棒的免費遠程辦公軟件,我公司的網站是做企業管理軟件的非常符合。文章一定要原創且內容豐富對搜索者有價值,因為百度也會用各種指標對文章進行評價,如果經常發布些抄襲的文章或質量差的原創文章,百度就會認為你的網站對網民沒有價值。
選好標題后先去百度搜索下有沒有相同標題的文章以免"撞車",評估下發布后大致能排在什么位置能帶來多少流量。結合你公司的產品、服務、品牌適度做些植入但不要生硬以免引起反感。
熱點營銷的幾個關鍵
最好能做到以下幾點之一
1、引起共鳴,比如樂天對薩德部署事件的支持行為形成了高溫熱點。
2、讓消費者產生購買欲望。
3、能讓網民主動轉發你的文章。
4、文章有創新,避免同質化
做好長期作戰的準備
不要因為寫了幾篇流量不錯的軟文就沾沾自喜,寫軟文是一個長期的過程。為什么這么說呢,以百度為例,前兩頁百度自家的產品(百度貼吧、百度文庫、百科、百度經驗、百家號等一大堆)和大平臺就去掉了一大半,再加上一些人通過作弊手法也獲得好的排名,剩下的留給軟文寫手們的空間非常有限,對網民有用的好文章未必能獲得好的排名。十篇文章能有2至3篇持續排首頁已經相當不錯了。
根據網站關鍵詞列出所有長尾詞,建議長尾詞不少于1萬個,制定軟文計劃長尾詞、熱點、公司的品牌產品服務如何進行無縫結合,給營銷部門或SEO外包公司制定實施計劃。
軟文外包還是自己做?
有實力的最好自己做!流量增長和用戶獲取是公司的核心競爭力,況且外部人員未必了解你的產品你的客戶群。
實在自己不會做要外包的我就給幾點建議:
1、不要找那種承諾關鍵詞一周上首頁的,那是用軟件刷上去的排名,百度不傻。打個比方你新開了一個水果超市,請了個人幫你寫傳單并發傳單。傳單發出去后的確有效果,來了很多人。問題是因為技術原因你不清楚傳單上寫的什么內容,他是怎么宣傳的,來的人真的是來買水果的嗎?
2、先少投入后逐步增加,我碰到很多客戶對自家的產品非常自信,以為砸錢做推廣就立竿見影。不專業的投放就是在給公司放血,我見過很多不專業的投手害死公司。
軟文發布
軟文寫好了在哪里發布?在自己網站發布還是去大平臺發布,我的建議是看情況。
1、優先在自家網站發布,如果自己網站的文章獲得好的排名就不要發布到別的地方了,以免形成競爭
2、如果自己網站沒有排名或者第一周有排名以后就沒了,那沒有排名后再到其他平臺發布以獲得持續排名
3、除了觀察百度排名外,還可以觀察360、搜狗的排名,一般百度更新最快,360其次,搜狗最慢
來源:巨靈鳥 歡迎分享本文
上一個文章:教你六招讓文章被百度秒收
下一個文章:網站優化八-使用工具進行網站體檢